〖广州震高〗高性能电脑数控热室压铸机和冷室压铸机的生产与销售
   

zhengao.jpg

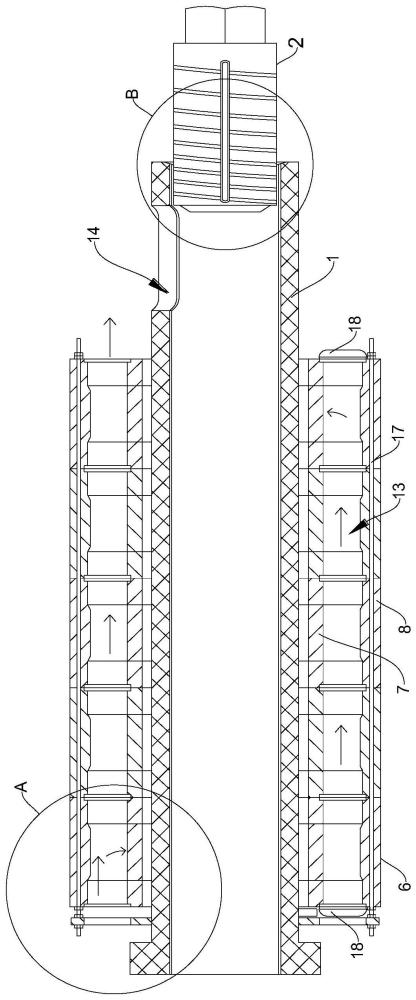
一种压铸机熔杯结构,涉及压铸技术领域。包括熔杯本体和冲头本体;所述熔杯本体的内壁和所述冲头本体的外壁均设置有高熵合金粉末熔覆层;所述熔杯本体朝向所述冲头本体的一端开设有凹形槽,所述冲头本体的外侧壁开设有螺旋储油槽和与所述螺旋储油槽连通的导油槽,其使用寿命更长,对润滑油的利用效率更高。

一种压铸机熔杯结构,其特征在于,包括熔杯本体和冲头本体;所述熔杯本体的内壁和所述冲头本体的外壁均设置有高熵合金粉末熔覆层;所述熔杯本体朝向所述冲头本体的一端开设有凹形槽,所述冲头本体的外侧壁开设有螺旋储油槽和与所述螺旋储油槽连通的导油槽


   关注 1691   
『压铸机』一种用于壳体的压铸模具  
『压铸机』一种汽车零部件压铸装置以及压铸工艺  
 
地址:广州市增城区永宁街宁西太新路106号(厂房C3)    销售热线 13829724101  /  020-26233456     售后热线 13503014852   /  020-82709986